Стройматериалы в Павлодаре
При заказе, требуется точная маркировка и чертёж изделия.
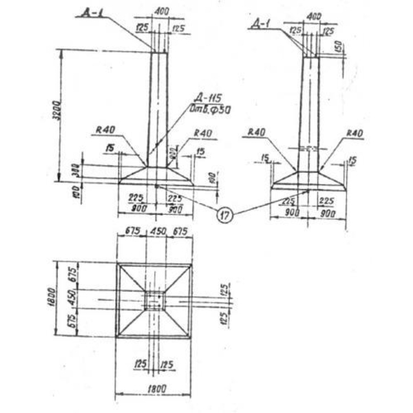
Фундамент под анкерно-угловые опоры Ф 18-18 является высокопрочным железобетонным изделием сложной формы - прямоугольный блок со сквозным отверстием по всей длине, располагаемый посередине квадратного основания, которое, в свою очередь, обладает скосами по всем четырем сторонам. Из-за своей формы конструкции также называются подножниками грибовидной формы. Данные элементы применяются в энергетическом строительстве для создания прочного, устойчивого и надежного основания для других строительных элементов. Регламент изготовления Ф 18-18 предопределяет область применения - конструкции разработаны для постройки электрических подстанций напряжением 35-500 кВ, строящиеся в I, II, III и IV климатических районах с минимальной температурой наружного воздуха по самой холодной пятидневки до минус сорока градусов по Цельсию.
Расшифровка маркировки
Все железобетонные детали обладают универсальной маркой, благодаря которой можно быстро и легко распознать изделие в широком номенклатурном ряду. Марка состоит из буквенно-числового кода, который несет в себе смысловую нагрузку об основных характеристиках изделия. Так если рассматривать расшифровку Ф 18-18, можно узнать следующую информацию:
1. ф - фундамент;
2. 18 - длина основания в дециметрах;
3. 18 - ширина основания в дециметрах.
Размеры:
• Длинна: 1800 мм.
• Ширина: 1800 мм.
• Высота: 3200 мм.
• Вес: 3000 кг.
• Объем бетона: 1, 2 м3
• Геометрический объем: 10, 368 м3
Информация о компании, которая разместила объявление:
Действия с объявлением #1663008
Поделитесь с друзьями и знакомыми
Поделитесь объявлением Ф 18-18 Фундамент с друзьями, знакомыми, потенциальными клиентами, используйте для этого социальные сети, мессенджеры. Это придаст объявлению популярности и эффект многократно повысится.
Сохраните или сообщите о нарушении
Джукенев Раис Русланович
- Зарегистрирован: 26.04.2017
- Активность: 14.04.2023
- Павлодар
- Ак. Сатпаева, 35
- DRR1970.
Советы по безопасности
- Познакомьтесь с продавцом в публичном месте
- Проверьте товар перед покупкой
- Оплачивайте только после того как убедитесь, что товар соответствует описанию и вашим требованиям
- Желательно провести сделку при свидетелях
- Познайомтеся з продавцем в публічному місці
- Перевірте товар перед покупкою
- Сплачуйте лише після того як переконаєтеся, що товар відповідає опису і вашим вимогам
- Бажано провести операцію при свідках
Другие объявления от
Джукенев Раис Русланович
QR-код страницы
Поделитесь QR-кодом в социальных сетях, чатах, мессенджерах чтобы ваши знакомые, потенциальные клиенты открыли ваше объявление на своих смартфонах.
Казахстан
Украина
Узбекистан
Молдавия